制藥干式復合系統針對中藥濃縮提取的應用(回顧點這里:濃縮的“精華”——真空應用中藥濃縮提取),今天要分享的是阿特拉斯·科普柯智能變頻液環真空泵LRP VSD+系列在中藥顆粒制作中的全新突破。
中藥配方顆粒是采用符合炮制規范的傳統中藥飲片作為原料,經現代制藥技術提取、濃縮、分離、干燥、制粒、包裝精制而成的純中藥產品系列。它保證了原中藥飲片的全部特征,能夠滿足醫師進行辨證論治,隨證加減,藥性強、藥效高、同時又具有不需要煎煮、直接沖服、服用量少、作用迅速、成份完全、療效確切、安全衛生、攜帶保存方便、易于調制和適合工業化生產等許多優點。
阿特拉斯·科普柯智能變頻液環真空泵LRP VSD+系列主要用于生產過程中各類型物料原料的負壓輸送傳輸。負壓輸送有如下三種適用性:密封要求高,輸送距離短,多處物料統一集中。這是一種可以做到完全封閉系統,隔絕外界污染的技術,正合適用在藥品類的生產。

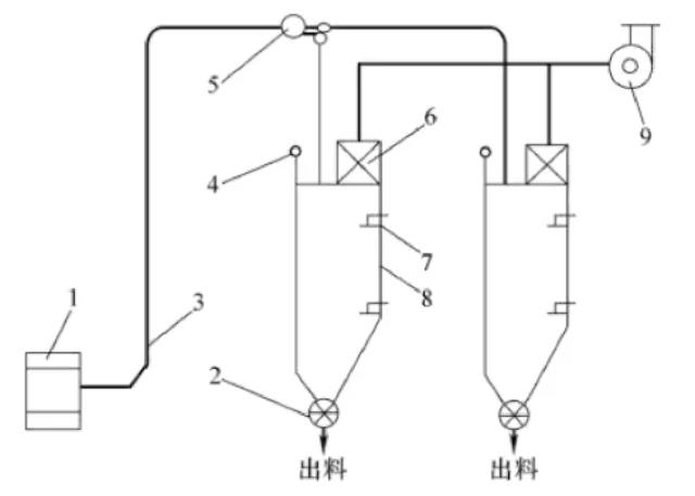
1.吸嘴;2.轉閥;3.輸送線;4.壓力開關;5.分配閥;6.除塵器;7.料位計;8.儲罐;9.真空泵
我們的客戶原先使用的是兩套某國產品牌45kw水環式真空泵組,單機性能標稱為1680m3/h。客戶反饋的問題有:振動噪音大,能耗高,泵經常損壞需要不斷維修。阿特拉斯·科普柯真空專家團隊前往現場,經過一段時間的觀察、測量實際的應用情況,以及了解工藝細節,發現問題的根源是該應用為間歇輸送,并非連續輸。然而現場的真空泵組并沒有變頻調節來匹配工藝的變化,因此當負載降低后,水環泵壓力就會不斷降低,引發氣蝕和振動,導致壽命減短。同時現場的板式換熱器也經常需要清洗,容易被工藝制程物所堵塞。

針對客戶的應用需求,阿特拉斯·科普柯推薦了智能變頻液環真空泵LRP VSD+系列給客戶,它的四大優勢可以解決客戶的痛點
全變頻調節,能夠精確匹配客戶的工藝波動和需求,降低能耗。
防氣蝕保護,通過系統監測和控制,防止杜絕氣蝕現象的發生。
全不銹鋼配置,過流部件全不銹鋼,保證工藝介質的潔凈和運轉部件的壽命
管殼式換熱器,能夠有效應對粉料的侵入,延長使用壽命。
整體翹裝即插即用
實踐證明,一臺37kw的LRP 1000 VSD+可以完全替代原有水環泵組的使用。機器的運行穩定性、噪音、振動都大幅度降低,贏得了客戶的滿意和贊許。
備注:本文轉自微信公眾號“阿特拉斯科普柯真空技術”

